今天给大家带来一个实际的案例分析:“退款数据分析”。数据量1500w行。
本次分析涵盖的核心统计维度与指标如下:
1. 整体汇总:帮我看一下整体的订单量、退款订单量、退款率和退款总金额。
2. 单维分组统计:按店铺名称分组,看看每个店铺的订单总数、退款订单数、退款率和退款总金额。
3. 原因分析:按退款原因分组,分析不同退款原因分别有多少退款订单、退款金额是多少。
4. 趋势分析:按月份看订单量、退款量和退款金额的变化趋势。
5. 异常数据分析:统计一下哪些订单金额异常,比如小于 0 或等于 0 的订单有多少,这些异常订单里退款情况怎么样。
6. TopN 排名:帮我找出退款金额最高的前 10 笔退款记录,看看都是什么订单、什么商品、什么退款原因。
7. 带过滤条件的分组统计:只看退款表里有记录的订单,按店铺名称和退款原因分组,输出店铺总订单数、退款订单数、退款率和退款总金额。
8. 主因识别:帮我看每个店铺最常见的退款原因是什么,对应退款金额有多少。
9. 占比分析:我想知道退款订单里,不同退款类型(仅退款、退货退款)分别占多少。
10. 渠道对比:按订单来源统计,看看不同来源渠道的退款率有没有明显差异。
11. 设备对比:按设备类型统计,看看不同设备上的订单量、退款量和退款率。
12. 用户分层对比:帮我比较会员订单和非会员订单的退款情况,看看哪一类退款率更高。
13. 业务标签对比:按直播订单和非直播订单分别统计,看看直播带来的订单退款情况怎么样。
14. 商品分析:按商品名称统计,找出退款最多的商品,以及这些商品的退款原因分布。
15. 类目分析:按一级类目统计退款情况,看看哪个类目退款率最高。
16. 品牌分析:按品牌统计,看看哪些品牌的退款金额最高、退款订单最多。
17. 地域分析:帮我分析不同省份、不同城市的退款情况,看看哪些地区问题更集中。
18. 客服分析:按客服名称统计订单和退款情况,看看是不是有客服对应的退款率明显偏高。
19. 物流分析:按快递公司和发货仓统计退款情况,分析是不是物流环节导致退款偏多。
20. 异常金额深挖:帮我找出退款金额异常大的订单,看看这些订单集中在哪些店铺、商品和退款原因上。
一、需求分析
有一批子订单表和退款表(共占5GB),如下图:


订单表列结构和部分数据:
| 订单号 | 店铺ID | 店铺名称 | 用户ID | 下单时间 | 订单金额 | 商品数量 | 支付方式 | 订单状态 | 省份 | 城市 | 商品ID | 商品名称 | 一级类目 | 二级类目 | 品牌 | 商家编码 | 活动ID | 优惠券金额 | 运费 | 收货人 | 联系电话 | 收货地址 | 发货仓 | 快递公司 | 快递单号 | 发货时间 | 签收时间 | 是否直播订单 | 是否会员 | 会员等级 | 设备类型 | 流量来源 | 客服ID | 客服名称 | 订单来源 | 支付单号 | 商家备注 | 买家备注 | 是否异常订单 |
| ORD2026000000000001 | SHOP0006 | 果然新鲜 | BUYER00000002 | 2026/8/25 9:59 | 287.54 | 6 | 微信 | 已取消 | 山东 | 厦门 | SKU00009 | 广西沃柑 | 礼盒卡券 | 苹果 | 原产直发 | SHOPSKU0000002 | ACT02176 | 29.92 | 10.5 | 收货人100001 | 13000000017 | 山东厦门幸福路2号 | 华东一仓 | 韵达 | 否 | 是 | 金卡 | Android | 短视频 | KF0004 | 客服阿梨 | APP | 优先冷链 | 请尽快发货 | 否 | ||||
| ORD2026000000000002 | SHOP0015 | 自然果语 | BUYER00000003 | 2026/3/27 11:50 | 73.12 | 1 | 银行卡 | 已发货 | 湖北 | 苏州 | SKU00015 | 精品果切拼盘 | 休闲零食 | 热带水果 | 每日果仓 | SHOPSKU0000003 | 23.99 | 4.22 | 收货人100002 | 13000000034 | 湖北苏州幸福路3号 | 华东一仓 | 韵达 | YT0000000000002 | 2026/3/28 21:50 | 否 | 是 | 银卡 | iPad | 社群分享 | KF0004 | 客服阿梨 | 小程序 | PAY00000000000002 | 赠送冰袋 | 工作日白天配送 | 否 |
退款表列结构和部分数据:
| 退款单号 | 订单号 | 店铺ID | 退款金额 | 退款原因 | 退款时间 | 退款状态 | 店铺名称 | 用户ID | 下单时间 | 订单金额 | 商品数量 | 退款类型 | 退款渠道 | 退款件数 | 是否退货 | 审核时间 | 完成时间 | 审核人 | 审核备注 | 退款原因分类 | 售后单号 | 商品ID | 商品名称 | 责任归属 |
| RF2026000000000001 | ORD2026000000000001 | SHOP0006 | 53.01 | 价格不满意 | 2026/8/30 12:59 | 已拒绝 | 果然新鲜 | BUYER00000002 | 2026/8/25 9:59 | 287.54 | 6 | 退货退款 | 平台余额 | 2 | 是 | 2026/8/30 13:59 | 2026/9/2 4:59 | 审核专员A | 不想要 | AFS00000000001 | SKU00009 | 广西沃柑 | 用户原因 | |
| RF2026000000000002 | ORD2026000000000038 | SHOP0013 | 56.2 | 临时不想要 | 2026/9/23 2:40 | 已退款 | 安心果市 | BUYER00000039 | 2026/9/16 1:40 | 64.52 | 1 | 仅退款 | 线下转账 | 1 | 否 | 2026/9/24 16:40 | 2026/9/25 15:40 | 审核专员A | 凭证齐全 | 不想要 | AFS00000000002 | SKU00013 | 猫山王榴莲肉 | 商家责任 |
现在需要执行如下步骤:
1. 合并:将多个订单子表合并成一个总订单表。多个子退款表也合并成一个总退款表。
2. 清理异常:清理掉总订单表订单金额小于0的数据等。
根据 总订单表 和总退款表 进行下面20个指标数据分析:
1. 整体汇总:帮我看一下整体的订单量、退款订单量、退款率和退款总金额。
2. 单维分组统计:按店铺名称分组,看看每个店铺的订单总数、退款订单数、退款率和退款总金额。
3. 原因分析:按退款原因分组,分析不同退款原因分别有多少退款订单、退款金额是多少。
4. 趋势分析:按月份看订单量、退款量和退款金额的变化趋势。
5. 异常数据分析:统计一下哪些订单金额异常,比如小于 0 或等于 0 的订单有多少,这些异常订单里退款情况怎么样。
6. TopN 排名:帮我找出退款金额最高的前 10 笔退款记录,看看都是什么订单、什么商品、什么退款原因。
7. 带过滤条件的分组统计:只看退款表里有记录的订单,按店铺名称和退款原因分组,输出店铺总订单数、退款订单数、退款率和退款总金额。
8. 主因识别:帮我看每个店铺最常见的退款原因是什么,对应退款金额有多少。
9. 占比分析:我想知道退款订单里,不同退款类型(仅退款、退货退款)分别占多少。
10. 渠道对比:按订单来源统计,看看不同来源渠道的退款率有没有明显差异。
11. 设备对比:按设备类型统计,看看不同设备上的订单量、退款量和退款率。
12. 用户分层对比:帮我比较会员订单和非会员订单的退款情况,看看哪一类退款率更高。
13. 业务标签对比:按直播订单和非直播订单分别统计,看看直播带来的订单退款情况怎么样。
14. 商品分析:按商品名称统计,找出退款最多的商品,以及这些商品的退款原因分布。
15. 类目分析:按一级类目统计退款情况,看看哪个类目退款率最高。
16. 品牌分析:按品牌统计,看看哪些品牌的退款金额最高、退款订单最多。
17. 地域分析:帮我分析不同省份、不同城市的退款情况,看看哪些地区问题更集中。
18. 客服分析:按客服名称统计订单和退款情况,看看是不是有客服对应的退款率明显偏高。
19. 物流分析:按快递公司和发货仓统计退款情况,分析是不是物流环节导致退款偏多。
20. 异常金额深挖:帮我找出退款金额异常大的订单,看看这些订单集中在哪些店铺、商品和退款原因上。二、工作流配置
为了完成需求,进行统计,我们需要先将数据入库准备数据,然后才能进行表统计。 我们来详细配置下工作流。
步骤1、数据准备阶段(子文件合并,清理,入库)
分别对“订单”,“退款”子表进行:
1. 获取(“文件助手”智能体)
2. 合并(“文件合并”智能体)
3. 清理异常(“内容清理”智能体)
4. 入库(“数据入库”智能体)。
配置节点如下图:

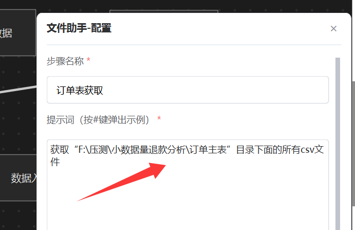
获取子订单表的提示词:

清理异常的提示词:

步骤2、表统计
数据入库好之后。我们就可以进行统计了。
统计1:整体汇总
帮我看一下整体的订单量、订单总金额、退款订单量、退款率和退款总金额。直接挂一个 “表操作”智能体,输入上面提示词,这样“整体汇总”统计就配置好了。 注意,输出表名也需要输出一个。

配置好之后,我们先跑一下“整体汇总”的结果:

我们发现,总数据已经统计出来了,自己的数据可以核对下。
统计2:单维分组统计
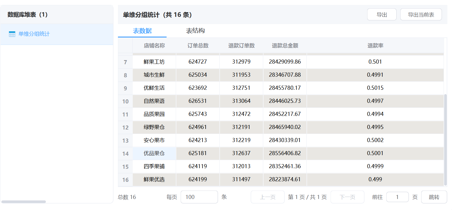
按店铺名称分组,看看每个店铺的订单总数、退款订单数、退款率和退款总金额。接着挂一个 “表操作”智能体,输入上面提示词,这样“单维分组统计”统计就配置好了。

配置好之后,我们先跑一下“单维分组统计”的结果:

我们发现,单个店铺的数据已经汇总出来了。
统计3:原因分析
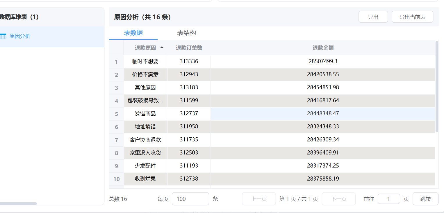
按退款原因分组,分析不同退款原因分别有多少退款订单、退款金额是多少。接着挂一个 “表操作”智能体,输入上面提示词,这样“原因分析”统计就配置好了。

配置好之后,我们先跑一下“原因分析”的结果:

我们发现,每个原因的 退款金额已经统计出来了。
统计4:趋势分析
按月份看订单量、退款量和退款金额的变化趋势。接着挂一个 “表操作”智能体,输入上面提示词,这样“趋势分析”统计就配置好了。

配置好之后,我们先跑一下“趋势分析”的结果:

我们发现,每个月的 分析数据已经出来了。
统计5:配置所有的统计节点
同理,我们将剩下的所有节点配置完成,提示词:
5. 异常数据分析:统计一下哪些订单金额异常,比如小于 0 或等于 0 的订单有多少,这些异常订单里退款情况怎么样。
6. TopN 排名:帮我找出退款金额最高的前 10 笔退款记录,看看都是什么订单、什么商品、什么退款原因。
7. 带过滤条件的分组统计:只看退款表里有记录的订单,按店铺名称和退款原因分组,输出店铺总订单数、退款订单数、退款率和退款总金额。
8. 主因识别:帮我看每个店铺最常见的退款原因是什么,对应退款金额有多少。
9. 占比分析:我想知道退款订单里,不同退款类型(仅退款、退货退款)分别占多少。
10. 渠道对比:按订单来源统计,看看不同来源渠道的退款率有没有明显差异。
11. 设备对比:按设备类型统计,看看不同设备上的订单量、退款量和退款率。
12. 用户分层对比:帮我比较会员订单和非会员订单的退款情况,看看哪一类退款率更高。
13. 业务标签对比:按直播订单和非直播订单分别统计,看看直播带来的订单退款情况怎么样。
14. 商品分析:按商品名称统计,找出退款最多的商品,以及这些商品的退款原因分布。
15. 类目分析:按一级类目统计退款情况,看看哪个类目退款率最高。
16. 品牌分析:按品牌统计,看看哪些品牌的退款金额最高、退款订单最多。
17. 地域分析:帮我分析不同省份、不同城市的退款情况,看看哪些地区问题更集中。
18. 客服分析:按客服名称统计订单和退款情况,看看是不是有客服对应的退款率明显偏高。
19. 物流分析:按快递公司和发货仓统计退款情况,分析是不是物流环节导致退款偏多。
20. 异常金额深挖:帮我找出退款金额异常大的订单,看看这些订单集中在哪些店铺、商品和退款原因上。
配置完成后,我们执行就可以了。但是我们需要将统计结果输出到结果文件,并且每一个维度的统计都输出一个文件。
三、统计结果输出到文件
我们只需要在最后挂一个“数据出库”节点,然后选择要下载的表名称,如下图:

等待执行完成,打开目录,就可以看到所有统计文件,如图:


四、总结
本文以1500万行、5GB电商退款数据为例,完整演示了从子表合并、异常清理、数据入库,到20个维度指标统计的全流程工作流配置,并实现每个指标独立输出,为大规模退款分析提供了一套可复用的实战方案。