今天给大家带来一个实际的案例分析:“传感器监测数据分析”。
本次分析涵盖的核心统计维度与指标如下:
1.车间告警排行:帮我按车间分组,看一下设备数量、告警次数和告警率,告诉我哪个车间问题最多。
2.设备类型表现对比:按设备类型统计平均温度、平均振动值和平均功率,帮我排个名。
3.每日告警趋势:把最近30天每天的告警趋势给我看一下,我想知道哪几天波动最大。
4.班次异常对比:按班次统计告警数、停机分钟数和平均数据质量评分,看看夜班是不是更容易出问题。
5.高告警设备Top10:帮我找出告警次数最多的前10台设备,同时把它们所在车间和产线带出来。
6.园区环境差异:按园区比较平均温度、平均湿度和平均压力值,看看不同园区环境差异大不大。
7.运行状态分布:把运行状态分组统计一下,看看正常、待机、停机、故障各有多少条记录。
8.告警级别分布:按告警级别看分布情况,再告诉我高危和中危主要集中在哪些设备类型。
9.停机设备排查:帮我筛出停机分钟数最高的设备,并按车间汇总停机总时长。
10.产线负载分析:按产线统计平均功率、平均电流和平均电压,看看哪条产线负载最高。
11.低电量设备监控:我想看一下哪些设备电池电量经常偏低,按设备和园区帮我汇总一下。
12.维护负责人对比:按维护负责人统计他负责设备的告警次数、停机时长和平均数据质量,看看谁负责的设备问题最多。
13.高发时段分析:帮我看每天每个小时的告警分布,找出最容易出问题的时间段。
14.夜班高危告警分析:按设备类型和班次交叉分析,看看哪种设备在夜班最容易出现高危告警。
15.低质量数据排查:把数据质量评分低于90分的记录单独统计出来,按园区和车间看哪里最严重。
16.丢包与告警关系:帮我看丢包率和告警之间有没有关系,按设备类型汇总平均丢包率和告警率。
17.大区综合对比:按大区统计设备数、告警数、停机分钟数和平均功率,给我一个综合对比。
18.高温来源分析:我想知道温度过高的记录主要来自哪些车间和哪些设备类型,帮我分组统计。
19.高风险设备识别:按设备看最近30天的平均压力值、最大振动值和总停机分钟数,找出风险最高的一批。
20.车间综合评分:帮我做一个综合排名,按车间比较告警率、停机时长、数据质量和高危告警占比。
一、需求分析
有一个“传感器监测数据分析”业务表,下面是部分数据:
| 记录ID | 采集时间 | 日期 | 小时 | 班次 | 大区 | 园区 | 车间 | 产线 | 设备ID | 设备名称 | 设备类型 | 传感器ID | 传感器类型 | 运行状态 | 告警级别 | 是否告警 | 维护状态 | 环境温度 | 环境湿度 | 压力值 | 振动值 | 电流值 | 电压值 | 功率值 | 电池电量 | 数据质量评分 | 丢包率 | 停机分钟数 | 采样间隔秒 | 维护负责人 |
| REC000001 | 2026/3/1 0:00 | 2026/3/1 | 0 | 夜班 | 华东 | 宁波园区 | 测试车间 | H线 | DEV0001 | 温控机1 | 温控机 | SEN00012 | 振动监测 | 故障 | 无告警 | 否 | 正常 | 22.73 | 55.49 | 4.49 | 1.41 | 18.67 | 356.13 | 6.36 | 82.28 | 96.71 | 0.66 | 132 | 217 | 陈工 |
| REC000002 | 2026/3/1 0:05 | 2026/3/1 | 0 | 夜班 | 华南 | 天津园区 | 组装车间 | G线 | DEV0002 | 空压机2 | 空压机 | SEN00023 | 能耗监测 | 正常 | 无告警 | 否 | 已保养 | 30.31 | 56.65 | 5.17 | 1.73 | 12.64 | 362.28 | 4.02 | 75.21 | 98.49 | 0.65 | 7 | 159 | 陈工 |
| REC000003 | 2026/3/1 0:10 | 2026/3/1 | 0 | 夜班 | 华北 | 苏州园区 | 四车间 | F线 | DEV0003 | 注塑机3 | 注塑机 | SEN00034 | 环境监测 | 正常 | 无告警 | 否 | 待巡检 | 26.79 | 35.47 | 5.46 | 1.7 | 16.49 | 366.19 | 5.75 | 90.06 | 98.55 | 0.8 | 0 | 26 | 陈工 |
| REC000004 | 2026/3/1 0:15 | 2026/3/1 | 0 | 夜班 | 华中 | 宁波园区 | 三车间 | E线 | DEV0004 | 焊接机器人4 | 焊接机器人 | SEN00045 | 综合监测 | 正常 | 提示 | 是 | 正常 | 34.68 | 53.4 | 5.45 | 1.74 | 16.38 | 381.7 | 5.17 | 96.22 | 98.84 | 1.37 | 9 | 16 | 陈工 |
| REC000005 | 2026/3/1 0:20 | 2026/3/1 | 0 | 夜班 | 华东 | 天津园区 | 二车间 | D线 | DEV0005 | 包装机5 | 包装机 | SEN00051 | 温压一体 | 正常 | 提示 | 是 | 待巡检 | 26.63 | 52.64 | 6.12 | 2.24 | 22.15 | 392.84 | 7.99 | 96.65 | 94.27 | 1.05 | 2 | 251 | 陈工 |
根据上面表格进行下面20个指标数据分析:
1.车间告警排行:帮我按车间分组,看一下设备数量、告警次数和告警率,告诉我哪个车间问题最多。
2.设备类型表现对比:按设备类型统计平均温度、平均振动值和平均功率,帮我排个名。
3.每日告警趋势:把最近30天每天的告警趋势给我看一下,我想知道哪几天波动最大。
4.班次异常对比:按班次统计告警数、停机分钟数和平均数据质量评分,看看夜班是不是更容易出问题。
5.高告警设备Top10:帮我找出告警次数最多的前10台设备,同时把它们所在车间和产线带出来。
6.园区环境差异:按园区比较平均温度、平均湿度和平均压力值,看看不同园区环境差异大不大。
7.运行状态分布:把运行状态分组统计一下,看看正常、待机、停机、故障各有多少条记录。
8.告警级别分布:按告警级别看分布情况,再告诉我高危和中危主要集中在哪些设备类型。
9.停机设备排查:帮我筛出停机分钟数最高的设备,并按车间汇总停机总时长。
10.产线负载分析:按产线统计平均功率、平均电流和平均电压,看看哪条产线负载最高。
11.低电量设备监控:我想看一下哪些设备电池电量经常偏低,按设备和园区帮我汇总一下。
12.维护负责人对比:按维护负责人统计他负责设备的告警次数、停机时长和平均数据质量,看看谁负责的设备问题最多。
13.高发时段分析:帮我看每天每个小时的告警分布,找出最容易出问题的时间段。
14.夜班高危告警分析:按设备类型和班次交叉分析,看看哪种设备在夜班最容易出现高危告警。
15.低质量数据排查:把数据质量评分低于90分的记录单独统计出来,按园区和车间看哪里最严重。
16.丢包与告警关系:帮我看丢包率和告警之间有没有关系,按设备类型汇总平均丢包率和告警率。
17.大区综合对比:按大区统计设备数、告警数、停机分钟数和平均功率,给我一个综合对比。
18.高温来源分析:我想知道温度过高的记录主要来自哪些车间和哪些设备类型,帮我分组统计。
19.高风险设备识别:按设备看最近30天的平均压力值、最大振动值和总停机分钟数,找出风险最高的一批。
20.车间综合评分:帮我做一个综合排名,按车间比较告警率、停机时长、数据质量和高危告警占比。
二、工作流配置
为了完成需求,进行统计,我们需要先将数据入库准备数据,然后才能进行表统计。 我们来详细配置下工作流。
步骤1、数据准备阶段(入库)
由于我们的数据不需要任何清理,所以我就省略了,直接进行入库。添加“一个文件助手”智能体和“数据入库”。 如下图:

文件助手的提示词,描述数据csv文件的路径就可以了。
步骤2、表统计
数据入库好之后。我们就可以进行统计配置了。
统计1:车间告警排行
帮我按车间分组,看一下设备数量、告警次数和告警率,告诉我哪个车间问题最多。
直接挂一个 “表操作”智能体,输入上面提示词,这样“车间告警排行”统计就配置好了。 注意,输出表名必须指定。

配置好之后,发布工作流,我们先跑一下结果:

我们发现,每个车间的告警已经统计出来了。
统计2:设备类型表现对比
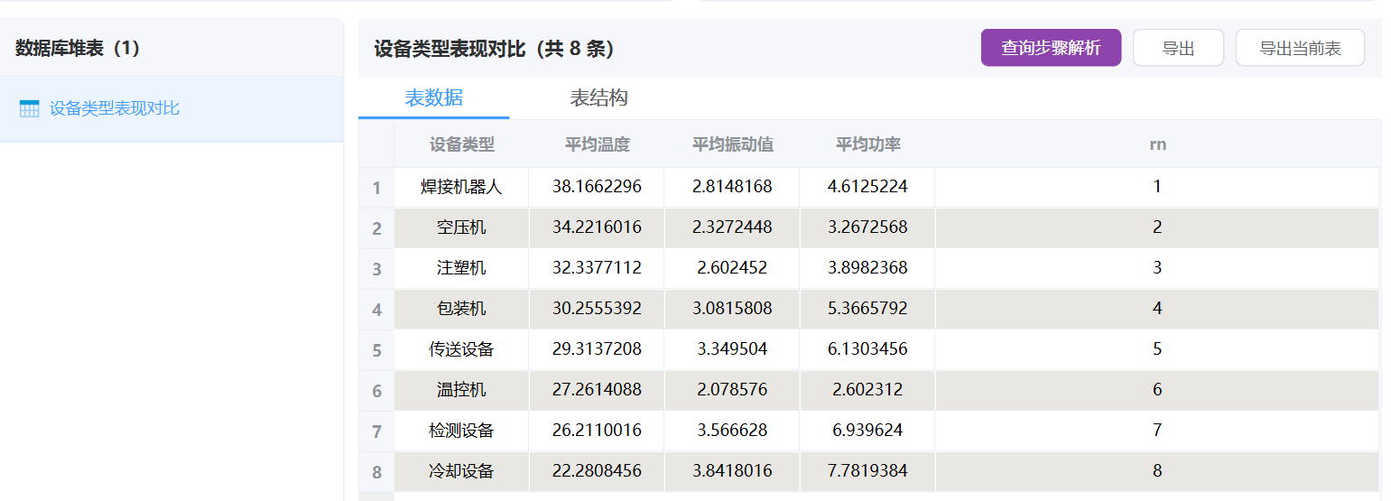
按设备类型统计平均温度、平均振动值和平均功率,帮我排个名。
同上,我们新建一个“设备类型表现对比”节点。配置上面提示词。运行结果如图:

统计3:每日告警趋势
把最近30天每天的告警趋势给我看一下,我想知道哪几天波动最大。
同上,我们新建一个“每日告警趋势”节点。配置上面提示词。运行结果如图:

统计4:剩余所有指标
其余的我就不一一演示了, 我们先把所有统计节点配置好,如下图:

三、统计结果输出到文件
我们只需要在最后挂一个“数据出库”节点,然后选择要下载的表名称,如下图:

等待执行完成,打开目录,就可以看到所有统计文件,如图:

